Sharktech是一家主要经营高防VPS主机和独立服务器的鲨鱼主机。他们的数据中心分布在美国洛杉矶、阿姆斯特丹、丹佛、芝加哥和荷兰等地,这些机房都配备了多层次的DDoS防护系统,最低能够处理10Gbps的攻击,最高可处理50Gbps的攻击。Sharktech支持支付宝、PayPal、信用卡等国内外多种付款方式。在本文中,我们将与大家分享一下对Sharktech洛杉矶机房的简单测评。
洛杉矶机房测试IP:67.21.93.66
我们测试洛杉矶VPS本地的Ping速度测试,如下图:
这里我们可以看到洛杉矶VPS主机本地的PING延迟在148ms左右,速度正常。
这里,我们全球节点延迟速度测试,如下图:
从全球节点看PING速度,国内速度一般,部分地区有点丢包。
这里在看国内三网节点的去程:
电信去程:
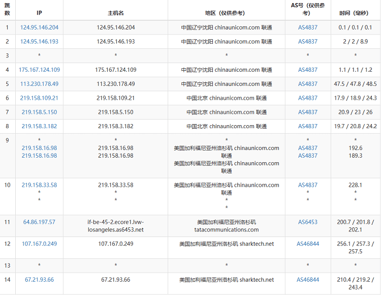
联通去程:
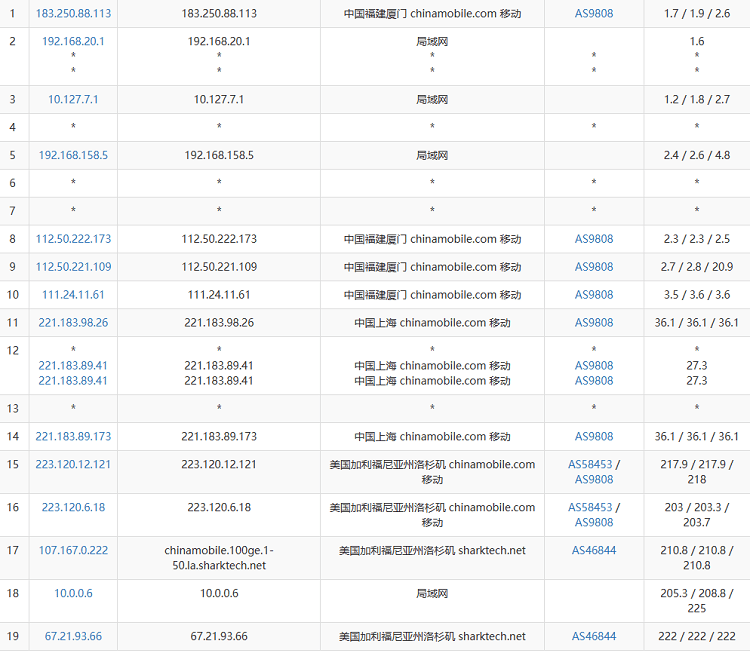
移动去程:
这里我们可以看到三网线路,都是直连的。
#推荐阅读


所属专题: Sharktech VPS推荐 VPS测评 主机测评 美国VPS
还木有评论哦,快来抢沙发吧~