Justhost商家最近新上线的Justhost新加坡机房VPS套餐方案参见:Justhost新上新加坡节点,200Mbps新加坡国际带宽,不限流量VPS,8折优惠月付5.2美元起,那么Justhost新加坡VPS怎么样呢?站长这里入手了一台进行了测评,一起来看看Justhost新加坡VPS性能如何。
大家都知道新加坡地里位置优越,面向全亚洲,而且网络没有什么限制,适合跑很多业务,其VPS默认还是KVM虚拟,依旧是不限制流量,最低给200Mbps带宽,用户可以根据自己的需求自定义选择CPU、内存、硬盘(sas\ssd\NVMe)、IP(v4/v6)、带宽大小。
Justhost新加坡不限流量VPS-DIY配置
- 内存:512M~32G
- CPU:1核~16核
- 硬盘:5G~1T,可选SAS、SSD、NVMe SSD
- 带宽:200Mbps~1Gbps
- IPv4:1个~64个,IPv6:1个~64个
- 优惠码:let20 (年付默认8折,优惠码8折,叠加后相当于6.4折)
- 价格:36.78元/月
- 购买链接:https://Justhost.asia/zh/services/VPS
CPU型号为e5-2697v4,主频2.3GHz、加速频率3.6GHz,当前硬盘I/O大致440.7mb/s
FIO测试磁盘效果
iperf3测试下几个欧美节点的数据,含IPv6数据
国内多节点的延迟测试数据
VPS丢包率测试
200Mbps带宽,实测speedtest.net国内外节点测速效果
speedtest亚洲区域内的部分节点的测试数据
路由去程追踪测试
电信去程:直连电信美国圣何塞节点然后走TATA经过日本再去新加坡
联通去程:直连联通美国洛杉矶节点然后走TATA经过日本去新加坡
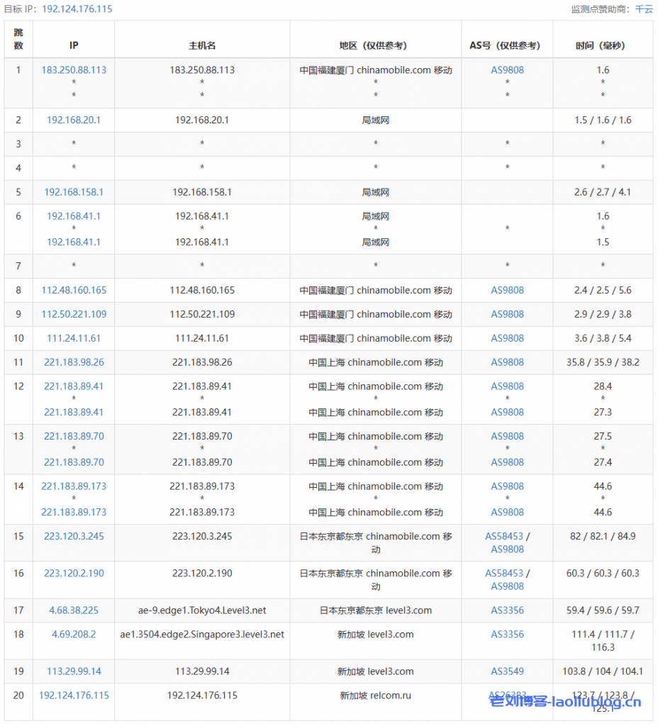
移动去程:走CMI经过香港后直接去新加坡
路由回程追踪测试
三网路由回程
电信联通移动回程路由详情
Traceroute to China, Guangzhou CT (TCP Mode, Max 30 Hop)
============================================================
traceroute to 113.108.209.1 (113.108.209.1), 30 hops max, 32 byte packets
1 185.140.210.105 1.15 ms http: 403 http: 403
2 10.32.1.22 0.47 ms http: 403 http: 403
3 63.218.229.81 0.69 ms http: 403 http: 403
4 *
5 218.30.53.84 173.82 ms http: 403 http: 403
6 *
7 202.97.91.138 318.89 ms http: 403 http: 403
8 *
9 *
10 113.96.5.205 329.92 ms http: 403 http: 403
11 *
12 113.108.209.1 444.24 ms http: 403 http: 403
Traceroute to China, Shanghai CT (TCP Mode, Max 30 Hop)
============================================================
traceroute to 180.153.28.5 (180.153.28.5), 30 hops max, 32 byte packets
1 185.140.210.105 0.60 ms http: 403 http: 403
2 10.32.1.22 0.31 ms http: 403 http: 403
3 *
4 *
5 63.223.43.98 182.31 ms http: 403 http: 403
6 63.223.43.98 181.74 ms http: 403 http: 403
7 202.97.52.177 486.37 ms http: 403 http: 403
8 *
9 *
10 *
11 *
12 *
13 124.74.232.54 386.97 ms http: 403 http: 403
14 *
15 *
16 *
17 *
18 *
19 *
20 *
21 *
22 *
23 *
24 *
25 *
26 *
27 *
28 *
29 *
30 *
Traceroute to China, Beijing CT (TCP Mode, Max 30 Hop)
============================================================
traceroute to 180.149.128.9 (180.149.128.9), 30 hops max, 32 byte packets
1 185.140.210.105 0.45 ms http: 403 http: 403
2 10.32.1.22 0.45 ms http: 403 http: 403
3 *
4 *
5 63.223.43.98 181.94 ms http: 403 http: 403
6 218.30.53.86 256.21 ms http: 403 http: 403
7 *
8 *
9 *
10 36.110.246.130 405.95 ms http: 403 http: 403
11 *
12 *
13 *
14 *
15 *
16 *
17 *
18 *
19 *
20 *
21 *
22 *
23 *
24 *
25 *
26 *
27 *
28 *
29 *
30 *
Traceroute to China, Guangzhou CU (TCP Mode, Max 30 Hop)
============================================================
traceroute to 210.21.4.130 (210.21.4.130), 30 hops max, 32 byte packets
1 185.140.210.105 0.58 ms http: 403 http: 403
2 *
3 *
4 *
5 *
6 *
7 *
8 64.86.252.32 176.96 ms http: 403 http: 403
9 *
10 *
11 219.158.115.158 457.60 ms http: 403 http: 403
12 219.158.103.217 434.61 ms http: 403 http: 403
13 219.158.103.217 433.87 ms http: 403 http: 403
14 120.80.91.62 427.87 ms http: 403 http: 403
15 112.91.0.246 400.97 ms http: 403 http: 403
16 *
17 *
18 *
19 *
20 *
21 *
22 *
23 *
24 *
25 *
26 *
27 *
28 *
29 *
30 *
Traceroute to China, Shanghai CU (TCP Mode, Max 30 Hop)
============================================================
traceroute to 58.247.8.158 (58.247.8.158), 30 hops max, 32 byte packets
1 185.140.210.105 1.09 ms http: 403 http: 403
2 180.87.108.200 0.84 ms http: 403 http: 403
3 180.87.108.197 190.02 ms http: 403 http: 403
4 *
5 *
6 *
7 *
8 63.243.205.90 298.09 ms http: 403 http: 403
9 *
10 63.243.205.94 274.70 ms http: 403 http: 403
11 219.158.111.218 403.93 ms http: 403 http: 403
12 219.158.113.118 432.57 ms http: 403 http: 403
13 219.158.113.118 413.72 ms http: 403 http: 403
14 139.226.210.94 409.22 ms http: 403 http: 403
15 *
16 *
17 *
18 *
19 *
20 *
21 *
22 *
23 *
24 *
25 *
26 *
27 *
28 *
29 *
30 *
Traceroute to China, Beijing CU (TCP Mode, Max 30 Hop)
============================================================
traceroute to 123.125.99.1 (123.125.99.1), 30 hops max, 32 byte packets
1 185.140.210.105 0.42 ms http: 403 http: 403
2 180.87.108.200 0.87 ms http: 403 http: 403
3 *
4 180.87.15.112 177.16 ms http: 403 http: 403
5 *
6 209.58.86.200 183.21 ms http: 403 http: 403
7 *
8 *
9 *
10 63.243.205.90 235.61 ms http: 403 http: 403
11 219.158.3.29 369.62 ms http: 403 http: 403
12 219.158.18.69 482.53 ms http: 403 http: 403
13 61.51.169.178 400.19 ms http: 403 http: 403
14 61.135.113.154 411.64 ms http: 403 http: 403
15 61.51.169.178 395.86 ms http: 403 http: 403
16 *
17 *
18 *
19 *
20 *
21 *
22 *
23 *
24 *
25 *
26 *
27 *
28 *
29 *
30 *
Traceroute to China, Guangzhou CM (TCP Mode, Max 30 Hop)
============================================================
traceroute to 120.196.212.25 (120.196.212.25), 30 hops max, 32 byte packets
1 185.140.210.105 0.45 ms http: 403 http: 403
2 10.32.1.22 0.45 ms http: 403 http: 403
3 *
4 *
5 *
6 *
7 *
8 *
9 221.183.89.170 80.69 ms http: 403 http: 403
10 221.183.89.14 62.84 ms http: 403 http: 403
11 *
12 *
13 211.136.214.138 92.99 ms http: 403 http: 403
14 211.139.180.110 91.52 ms http: 403 http: 403
15 211.139.180.110 97.06 ms http: 403 http: 403
16 120.196.212.25 92.43 ms http: 403 http: 403
Traceroute to China, Shanghai CM (TCP Mode, Max 30 Hop)
============================================================
traceroute to 221.183.55.22 (221.183.55.22), 30 hops max, 32 byte packets
1 185.140.210.105 0.49 ms http: 403 http: 403
2 10.32.1.22 0.40 ms http: 403 http: 403
3 *
4 *
5 63.218.164.66 0.89 ms http: 403 http: 403
6 223.120.2.45 32.29 ms http: 403 http: 403
7 223.120.3.178 76.34 ms http: 403 http: 403
8 221.183.89.170 76.81 ms http: 403 http: 403
9 *
10 *
11 *
12 *
13 *
14 *
15 *
16 *
17 *
18 *
19 *
20 *
21 *
22 *
23 *
24 *
25 *
26 *
27 *
28 *
29 *
30 *
Traceroute to China, Beijing CM (TCP Mode, Max 30 Hop)
============================================================
traceroute to 211.136.25.153 (211.136.25.153), 30 hops max, 32 byte packets
1 185.140.210.105 0.41 ms http: 403 http: 403
2 180.87.108.200 0.85 ms http: 403 http: 403
3 180.87.108.163 21.29 ms http: 403 http: 403
4 129.250.5.61 3.00 ms http: 403 http: 403
5 129.250.7.67 34.75 ms http: 403 http: 403
6 *
7 *
8 223.120.2.113 40.84 ms http: 403 http: 403
9 223.120.2.42 37.81 ms http: 403 http: 403
10 223.120.22.142 117.58 ms http: 403 http: 403
11 221.183.55.110 114.35 ms http: 403 http: 403
12 *
13 *
14 *
15 *
16 *
17 *
18 *
19 *
20 *
21 211.136.25.153 118.51 ms http: 403 http: 403
Traceroute to China, Beijing Dr.Peng Network IDC Network (TCP Mode, Max 30 Hop)
============================================================
traceroute to 211.167.230.100 (211.167.230.100), 30 hops max, 32 byte packets
1 185.140.210.105 0.47 ms http: 403 http: 403
2 180.87.108.200 0.74 ms http: 403 http: 403
3 *
4 180.87.15.112 176.91 ms http: 403 http: 403
5 180.87.67.33 89.61 ms http: 403 http: 403
6 *
7 120.29.211.2 71.32 ms http: 403 http: 403
8 *
9 219.158.98.9 415.99 ms http: 403 http: 403
10 219.158.16.65 388.34 ms http: 403 http: 403
11 219.158.16.65 402.17 ms http: 403 http: 403
12 219.158.16.65 382.10 ms http: 403 http: 403
13 61.49.214.6 428.05 ms http: 403 http: 403
14 114.249.179.70 419.81 ms http: 403 http: 403
15 *
16 *
17 218.241.166.18 395.85 ms http: 403 http: 403
18 211.167.230.100 375.83 ms http: 403 http: 403
----------------------------------------------------------------------------------
其他流媒体解锁情况
其他性能参数一览
测评大致总结下:网络方面,电信、联通,变成了一个国际VPS,绕道美国、日本,不太适合;但是,比较适合移动用户群体,基本上都是从新加坡到香港然后到内地的路由。
#推荐阅读

还木有评论哦,快来抢沙发吧~