我们对于RackNerd商家应该都不陌生。RackNerd商家每个月都会推出一些促销套餐,他们提供了10+个数据中心,主要面向那些需要低价年付的美国VPS和欧洲VPS主机的用户。RackNerd商家通常在每个节假日都会推出一些低价VPS套餐进行促销,并且这些优惠套餐通常都是长期在售的。在本文中,我们将为大家介绍一下RackNerd在美国达拉斯机房的简单测评。
RackNerd官方网站:https://www.racknerd.com/
美国达拉斯机房测试IP:198.23.249.100
我们测试美国达拉斯VPS本地的Ping速度测试,如下图:
这里我们可以看到美国达拉斯机房VPS主机本地的PING延迟在230ms左右,属于正常范围。
这里,我们全球节点延迟速度测试,如下图:
从全球节点看PING速度,国内都在230左右,属正常范围。
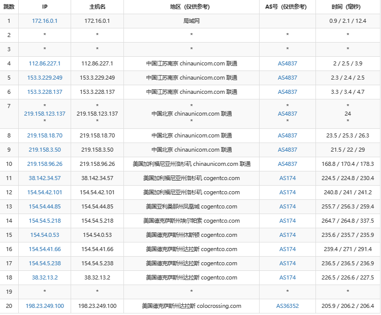
这里再看国内三网节点的去程:
电信去程:
联通去程:
移动去程:
这里我们可以看到三网线路,都是走美西直连的。
#推荐阅读




所属专题: RackNerd 主机测评 美国VPS VPS测评
还木有评论哦,快来抢沙发吧~