Hosteons是一家成立于2018年左右的海外主机提供商,主要专注于提供价格实惠的KVM和OPENVZ架构的VPS主机。他们的数据中心分布在美国的多个城市,包括洛杉矶、纽约、杰克逊维尔、达拉斯和拉斯维加斯。本文将与大家分享一下HostEONS在美国西部犹他州首府盐湖城的机房提供的VPS主机的简单测评。
Hosteons 是一家2018年左右成立的海外主机商,商家主要提供KVM和OPENVZ架构的便宜VPS主机,数据中心包括美国的多个机房,洛杉矶、纽约、杰克逊维尔、达拉斯、拉斯维加斯。本文和大家分享下HostEONS盐湖城机房VPS的简单测评。注:盐湖城为美国西部犹他州首府。
HostEONS盐湖城机房VPS测试IP:103.114.161.101
我们测试盐湖城机房VPS本地的Ping速度测试,如下图:
这里我们可以看到盐湖城机房VPS主机本地的PING延迟在180ms左右,速度属正常。
这里,我们全球节点延迟速度测试,如下图:
从全球节点看PING速度,国内速度还可以,有点丢包。
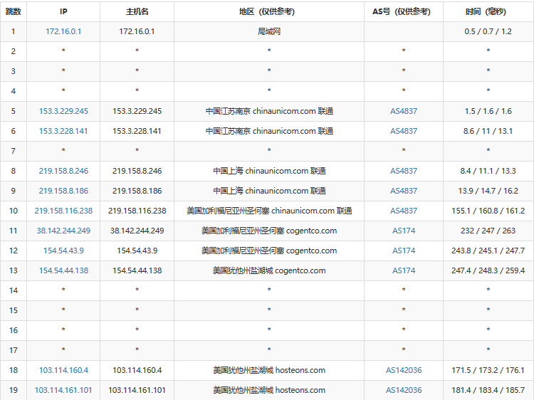
这里在看国内三网节点的去程:
电信去程:
联通去程:
移动去程:
这里我们可以看到三网线路,都是走美西直连的。
#推荐阅读

所属专题: HostEONS 美国VPS VPS测评 VPS推荐
还木有评论哦,快来抢沙发吧~